電子カタログ

「貫通孔(スリーブ)工事の改革提案 スリーブメイト®X型/スリーブメイトN型|型枠用金物|二三産業株式会社」のメーカーへの問い合わせはこちらから

貫通孔(スリーブ)工事の改革提案 スリーブメイト®X型/スリーブメイトN型|型枠用金物|二三産業株式会社

スリーブメイトX型の展開(23サイズになった)

スリーブメイトN型の展開(不可能が可能に)



 

スリーブメイトX型とフィットスポン

スリーブメイトX型は紙管用からはじめ、塩ビ管用のニーズに対応する開発を進めた。
現在では下表の通り23サイズになり、下水処理場工事にも多く使用されている。
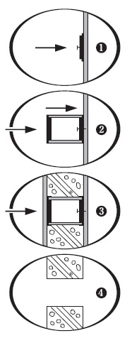
工法の概要は右図の通りであるが、

  1. スリーブメイトX型をまず、型枠に取り付ける。
    大抵釘1本で可。
  2. スリーブ材は、後でスリーブメイトX型にドッキングさせる。
    スリーブ材は大抵の場合、自立する。
  3. スリーブ材の別端末を、別のスリーブメイトX型で塞ぐと、コンクリートミルクも漏れないので、ジャンカなし・補修なし。

また、「フィットスポン工法」が特許登録になり、塩ビ管の歪みと寸法誤差の調整が容易になり、用途がさらに拡大した。


 

スリーブメイトN型と伸縮二重紙管

梁型枠内の狭い空間内での貫通孔工事には問題が多い。ハンマーを振り回せる空間が乏しい。
スリーブ材を挿入するにも移動するにも、自由が利かない問題である。
 

  • スリーブメイトN型は、スリーブメイトX型に、SUS製の釘(ピン)を埋設したタイプで、ハンマーを振り回すことなく、2~3cmのストロークで目的を果たせる。
  • 伸縮二重紙管を上図に示す通り、縮めて入れて中で伸ばす。
    これが「アトノビ工法」である。
  • 伸縮二重紙管とても、そのまま型枠内へ挿入不可能な場合、縦割りして挿入する方策。
    「タテワリ工法」ができた。

 
これらの新工法(特許出願済)によって、梁貫通孔工事の困難が容易に、不可能が可能になった。
 
 

スリーブメイトN型の壁貫通工事への応用

鉄筋コンクリートの強度を上げるには、ダブル配筋にしてコンクリート厚を大きくする。
その場合に、長尺のスリーブ材にスリーブメイトN型を装着し、スリーブ材の端他端末をタタク工法。
これが「ケツタタキ工法」である。
 
上掲下端に図示した「ケツタタキ工法」を参照。
 

●スリーブメイトX型(紙管用)

品番 適用管(m/m) 価格(円)
SM50X 50 80
SM75X 75 130
SM90X 90 170
SM100X 100 170
SM125X 125 240
SM150X 150 280
SM175X 175 390
SM200X 200 420
SM250X 250 700
SM300X 300 970

 
●フィットスポン(塩ビ管調整用)

品番 寸法(m/m) 価格(円)
FS315 白 3×15×50 13
FS510 灰 5×10×50 20
●スリーブメイトX型(塩ビ管用)

品番 適用管(m/m) 価格(円)
SM44X VU40 80
SM51X VP50 100
SM56X VU50 100
SM67X VP65 110
SM71X VU65 110
SM77X VP75 140
SM83X VU75 140
SM100X VP100 170
SM107X VU100 180
SM125X VP125 240
SM131X VU125 240
SM146X VP150 280
SM154X VU150 280
SM194X VP200 420
SM202X VU200 420
SM250X VU200 700
●スリーブメイトN型(紙管用)

品番 適用管(m/m) 価格(円)
SM50N 50 140
SM75N 75 200
SM83N 83 190
SM90N 90 240
SM100N 100 240
SM125N 125 310
SM150N 150 350
SM175N 175 450
SM200N 200 490
●スリーブメイトN型(塩ビ管用)

品番 適用管(m/m) 価格(円)
SM77N VP75 190
SM83N VU75 190
SM100N VP100 240
SM107N VU100 240
SM125N VP125 310
SM131N VU125 310
SM146N VP150 350
SM154N VU150 350
SM194N VP200 490
SM202N VU200 490
●伸縮二重紙管

品名 規格 価格
二重紙管75 75×2000 2,178
二重紙管90 90×2000 3,388
二重紙管100 100×2000 3,388
二重紙管125 125×2000 4,477
二重紙管150 150×2000 5,324
二重紙管175 175×2000 7,623
二重紙管200 200×2000 8,954


 

この電子カタログで紹介している製品

スリーブメイト X型|二三産業株式会社

この製品について詳しく見る >

スリーブメイトN型(釘付きタイプ)|二三産業株式会社

この製品について詳しく見る >

スリーブメイトX型(釘無しタイプ)|二三産業株式会社

この製品について詳しく見る >

スリーブメイト N型|二三産業株式会社

この製品について詳しく見る >

「貫通孔(スリーブ)工事の改革提案 スリーブメイト®X型/スリーブメイトN型|型枠用金物|二三産業株式会社」のメーカーへの問い合わせはこちらから

二三産業株式会社 メーカーの製品一覧 >

住所 〒 540-0011 大阪府大阪市中央区農人橋2-1-31 第6松屋ビル5F TEL 06-6944-1231 FAX 06-6944-1232
HP https://www.nisan.co.jp/

積算資料(単価情報)

掲載価格の条件 >
品名 規格 単位 公表価格(税別)
スリーブメイト N型 SM50N ポリプロピレン製 紙50用 釘付タイプ - -
スリーブメイト N型 SM75N ポリプロピレン製 紙75用 釘付タイプ - -
スリーブメイト N型 SM90N ポリプロピレン製 紙90用 釘付タイプ - -
スリーブメイト N型 SM100N ポリプロピレン製 紙・VP100用 釘付タイプ - -
スリーブメイト N型 SM125N ポリプロピレン製 紙・VP125用 釘付タイプ - -
スリーブメイト N型 SM150N ポリプロピレン製 紙・LP150用 釘付タイプ - -
スリーブメイト N型 SM200N ポリプロピレン製 紙200用 釘付タイプ - -
スリーブメイトN型(釘付きタイプ) SM77N 塩ビ管VP75用 ポリプロピレン製 取付具兼のろ止め材 169円
スリーブメイトN型(釘付きタイプ) SM83N 塩ビ管VU75用 ポリプロピレン製 取付具兼のろ止め材 169円
スリーブメイトN型(釘付きタイプ) SM107N 塩ビ管VU100用 ポリプロピレン製 取付具兼のろ止め材 206円
スリーブメイトN型(釘付きタイプ) SM131N 塩ビ管VU125用 ポリプロピレン製 取付具兼のろ止め材 266円
スリーブメイトN型(釘付きタイプ) SM146N 塩ビ管VP150用 ポリプロピレン製 取付具兼のろ止め材 303円
スリーブメイトN型(釘付きタイプ) SM154N 塩ビ管VU150用 ポリプロピレン製 取付具兼のろ止め材 303円
スリーブメイトN型(釘付きタイプ) SM194N 塩ビ管VP200用 ポリプロピレン製 取付具兼のろ止め材 424円
スリーブメイトN型(釘付きタイプ) SM202N 塩ビ管VU200用 ポリプロピレン製 取付具兼のろ止め材 424円
スリーブメイト X型 SM50X ポリプロピレン製 紙・SU50用 釘なしタイプ - -
スリーブメイト X型 SM75X ポリプロピレン製 紙・SU75用 釘なしタイプ - -
スリーブメイト X型 SM90X ポリプロピレン製 紙90用 釘なしタイプ - -
スリーブメイト X型 SM100X ポリプロピレン製 紙・VP100用 釘なしタイプ - -
スリーブメイト X型 SM125X ポリプロピレン製 紙・VP125用 釘なしタイプ - -
スリーブメイト X型 SM150X ポリプロピレン製 紙・LP150用 釘なしタイプ - -
スリーブメイト X型 SM200X ポリプロピレン製 紙200用 釘なしタイプ - -
スリーブメイト X型 SM250X ポリプロピレン製 紙・VU250用 釘なしタイプ - -
スリーブメイト X型 SM300X ポリプロピレン製 紙300用 釘なしタイプ - -
スリーブメイトX型(釘無しタイプ) SM44X 塩ビ管VU40用 ポリプロピレン製 取付具兼のろ止め材 73円
スリーブメイトX型(釘無しタイプ) SM51X 塩ビ管VP50用 ポリプロピレン製 取付具兼のろ止め材 85円
スリーブメイトX型(釘無しタイプ) SM56X 塩ビ管VU50用 ポリプロピレン製 取付具兼のろ止め材 85円
スリーブメイトX型(釘無しタイプ) SM67X 塩ビ管VP65用 ポリプロピレン製 取付具兼のろ止め材 97円
スリーブメイトX型(釘無しタイプ) SM71X 塩ビ管VU65用 ポリプロピレン製 取付具兼のろ止め材 97円
スリーブメイトX型(釘無しタイプ) SM77X 塩ビ管VP75用 ポリプロピレン製 取付具兼のろ止め材 121円
スリーブメイトX型(釘無しタイプ) SM83X 塩ビ管VU75用 ポリプロピレン製 取付具兼のろ止め材 121円
スリーブメイトX型(釘無しタイプ) SM107X 塩ビ管VU100用 ポリプロピレン製 取付具兼のろ止め材 157円
スリーブメイトX型(釘無しタイプ) SM131X 塩ビ管VU125用 ポリプロピレン製 取付具兼のろ止め材 206円
スリーブメイトX型(釘無しタイプ) SM146X 塩ビ管VP150用 ポリプロピレン製 取付具兼のろ止め材 242円
スリーブメイトX型(釘無しタイプ) SM154X 塩ビ管VU150用 ポリプロピレン製 取付具兼のろ止め材 242円
スリーブメイトX型(釘無しタイプ) SM194X 塩ビ管VP200用 ポリプロピレン製 取付具兼のろ止め材 363円
スリーブメイトX型(釘無しタイプ) SM202X 塩ビ管VU200用 ポリプロピレン製 取付具兼のろ止め材 363円
価格の適用
ウィットのミリ換算W5/16≒8mm、W3/8≒9mm、W1/2≒12mm、W5/8≒16mm、W3/4≒19mm、W7/8≒22mm、W1≒25mm。

二三産業株式会社 | 二三産業株式会社の他のカタログ

新しい土砂流出防止材/箱抜工事合理化用諸器材|その他道路資材|二三産業株式会社

「貫通孔(スリーブ)工事の改革提案 スリーブメイト®X型/スリーブメイトN型|型枠用金物|二三産業株式会社」

「型枠・木材」の新着電子カタログ

TOP