電子カタログ
「クリップロックオン工法/タイルクリップ工法|タイル工事|不二窯業株式会社」のメーカーへの問い合わせはこちらから
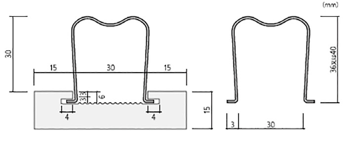
「クリップロックオン工法」とは、タイル乾式工法専用レール(クリップ付き縦型レール)を使った完全乾式タイル張りができる新しい工法である。
・実用新案登録(第3206776号)
・特別なレール金物とクリップ金物でタイルを固定。
クリップにタイルをはめるだけなので作業性に優れている。
・耐震性に優れている。
・既存の吹き付け仕上げやタイル仕上げにも施工可能で、改修工事にも対応。
| クリップロックオン専用タイル | |
| 材質区分 | AⅠ・AⅡ 施釉・無釉タイル |
| 寸 法 | H72×W240 |
| 厚 さ | 18 |
| ㎡あたり枚数 | 59枚/㎡ |
「タイルクリップ工法」とは、タイルの裏面にタイルクリップ(落下防止金物:ステンレス製)を取り付け、PC製作時にコンクリートと一緒に打ち込む工法である。
・第5721589号(共同特許)コンクリートブロック
・第5801654号(共同特許)タイル剥落防止具
・タイルクリップがスペーサーとなりコンクリートの被り厚を適正に確保
・タイルクリップにより剥離防止
・タイルへの取り付け・作業が容易

| 新規性 | タイルに二次加工(穴あけ、スリット加工等)を施す必要が一切なく、Pca板・FRC板で用いるタイルの製造段階で金属製タイル剥落防止具を使用してタイルを固定しコンクリートを打り込む技術。 |
|---|---|
| 品質性 | タイル裏面から鉄筋のかぶり厚さ30mmを自動的かつ確実に確保できる。 |
| 経済性 | 約2,000m2の想定で目視検査を含めて約9%のコストダウン。 |
| 省人化・省力化 | 専門かつ特殊な技術を必要としない。 |
| 施工性・工期短縮 | タイル剥落防止金物の装着手間が簡単であることにより、施工性・工期は従来工法と同等である。 |
| 維持管理 | 竣工10年後、定期調査方法として目視点検で良いため、従来の全面打診検査より簡易的である。 |
| 施工の安全性 | タイル落下防止措置を行っているので常に安全である。 |
| 特許、審査証明など | 特許 第5721589号 コンクリートブロック、特許 第5801654号 タイル剥落防止具 |
| 施工実績 | 福岡大学新体育館、シマノ本社ビルオービック御堂筋ビル 他 3件、フクダ電子本郷事業所西宮ガーデンズ プラス館日本大学法学部 3号館 |
| 適用範囲 | 外装用タイルPca、FRC板打込みパネル |
「クリップロックオン工法/タイルクリップ工法|タイル工事|不二窯業株式会社」のメーカーへの問い合わせはこちらから